热烈祝贺我司取得实用新型专利
2019/6/17 11:41:00
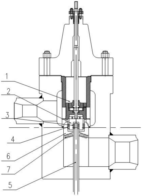
2019年5月21日,上海倍夫克阀门有限公司与上海市特种设备监督检验技术研究院联合取得《一种高低压旁路减温减压调节阀》实用新型专利(公告号CN208886109U)。该项专利涉及阀门技术领域,具体是一种高低压旁路减温减压调节阀,阀体内中心具有一空腔,所述空腔内设有阀杆、阀笼、阀塞、内套筒、阀腔和引流管,所述的阀笼位于空腔上部,阀笼顶部连接阀杆,所述的阀塞设置于阀笼下方并与阀笼相连通,所述的喷嘴设置于引流管顶端并与阀塞的内腔相连通,所述引流管的底端伸出阀体底部,所述阀塞的外侧壁面上套设有所述内套筒,所述的阀腔位于空腔下部,所述阀腔内设有斜孔板。本实用新型通过对减温水的雾化处理,使雾化水可与蒸汽充分混合,大大提高了减温减压效果,且更节能环保。本实用新型设计简体,多级雾化一体成型,且易加工,减温减压效率更稳定高效。

